New Rolls-Royce SUV on the way with unique split-opening bonnet
Electric Rolls has a party trick up its sleeve, with centre-hinged bonnet opening to reveal extra luggage space
New spy pictures and associated patent images of the upcoming electric Rolls-Royce SUV have landed in our inbox, revealing an interesting party trick that harks back to the brand’s pre-war era. It appears the as-yet-unnamed EV will get a centre-hinged bonnet, probably opening to reveal a small storage spot for charging cables or a bespoke luggage set.
The new model, likely to cost from around £350,000, will sit alongside the petrol-powered Rolls-Royce Cullinan but be pitched as a more urban-focused vehicle. It’ll be revealed in full in 2027 as the brand’s second full-production EV, following on from the Rolls-Royce Spectre two-door coupe.
Earlier this year, spy shots from BMW’s winter testing program revealed a prototype that was both very large and quite different to the more upright Cullinan. This new model is lower and sleeker, with an almost wagon-like silhouette and shallower windows. Yet while it looks lower, it’s almost certainly longer – possibly stretching to more than 5.3 metres.
There’s no mistaking this car’s core Rolls-Royce design cues, dominated by that long bonnet, upright nose, and short front and long rear overhangs. Peer under the camouflage and you’ll also see the same rear-opening ‘coach’ doors, and a set of small Spectre-inspired rear lights. But up front there’s something more innovative going on.
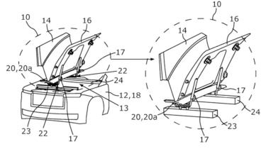
Central to the front-end design will sit a typical Pantheon grille, but look closely and you’ll notice a shut-line running down the centre of the bonnet. New patent images show a hinged arrangement that will allow the bonnet to open like those on the firm’s iconic pre-war cars – lifting to reveal not a powerful V12, but a spot for a five-figure luxury luggage set.
Elsewhere, we expect a new lighting signature, including a set of LED lighting strakes at the intersection of the bonnet and front bumper which taper from angled to vertical as they get closer to the centre of the car. Underneath these are vertically-arranged headlights, and while they aren’t the production units, their basic layout and placement will transfer to the future road car.
Given this model’s placement in the Rolls-Royce range as one of its more progressive model types – after all, this isn’t a V12-powered saloon – we expect the interior to be more digitised than ever before in one of the brand’s creations. Expect larger screens and more digital customisation alongside Rolls-Royce’s famous leather, wood and metal craftsmanship.
Powertrain, battery and performance
Under the skin, this model will improve its electric driving range as its battery technology should be based on the Neue Klasse architecture from its parent company BMW. But the sheer size and weight of the new SUV will probably see the maximum distance on a charge remain somewhere in the 300 to 400-mile ballpark. Expect a twin-motor layout with upwards of 500bhp; a 600bhp-plus Black Badge is also highly likely. However, as with the Spectre, this won’t be about outright speed, rather a feeling of effortless power.
The electric SUV won’t be a replacement for the existing Cullinan, as the petrol-powered SUV still does big sales in petrol-hungry markets like the USA and the Middle East. While Rolls-Royce hasn’t rowed back on its EV plans, it has extended the life of its illustrious V12. It’s not yet clear whether the Cullinan will be replaced, but it’s unlikely Rolls-Royce will deem it appropriate to extend production of the now eight-year-old SUV beyond the turn of the decade – at least not without significant updates.
Of course, this big new Rolls-Royce won’t be the only ultra-luxury British electric SUV coming out next year, as Bentley’s ‘Urban SUV’ is also on the way. Due to be quite a lot smaller and more agile than the Rolls, given its shared underpinnings with the new Porsche Cayenne Electric, the Bentley won’t directly compete for the same customers. Instead, it’s probably Jaguar, with its SUV follow-up to the forthcoming GT that could be the Bentley’s more pointed competitor.
Get even more from Auto Express, follow our channels...
• Google
• Reddit
• Whatsapp









